Schwimmbecken und Überdachungen


Abholverfügbarkeit konnte nicht geladen werden
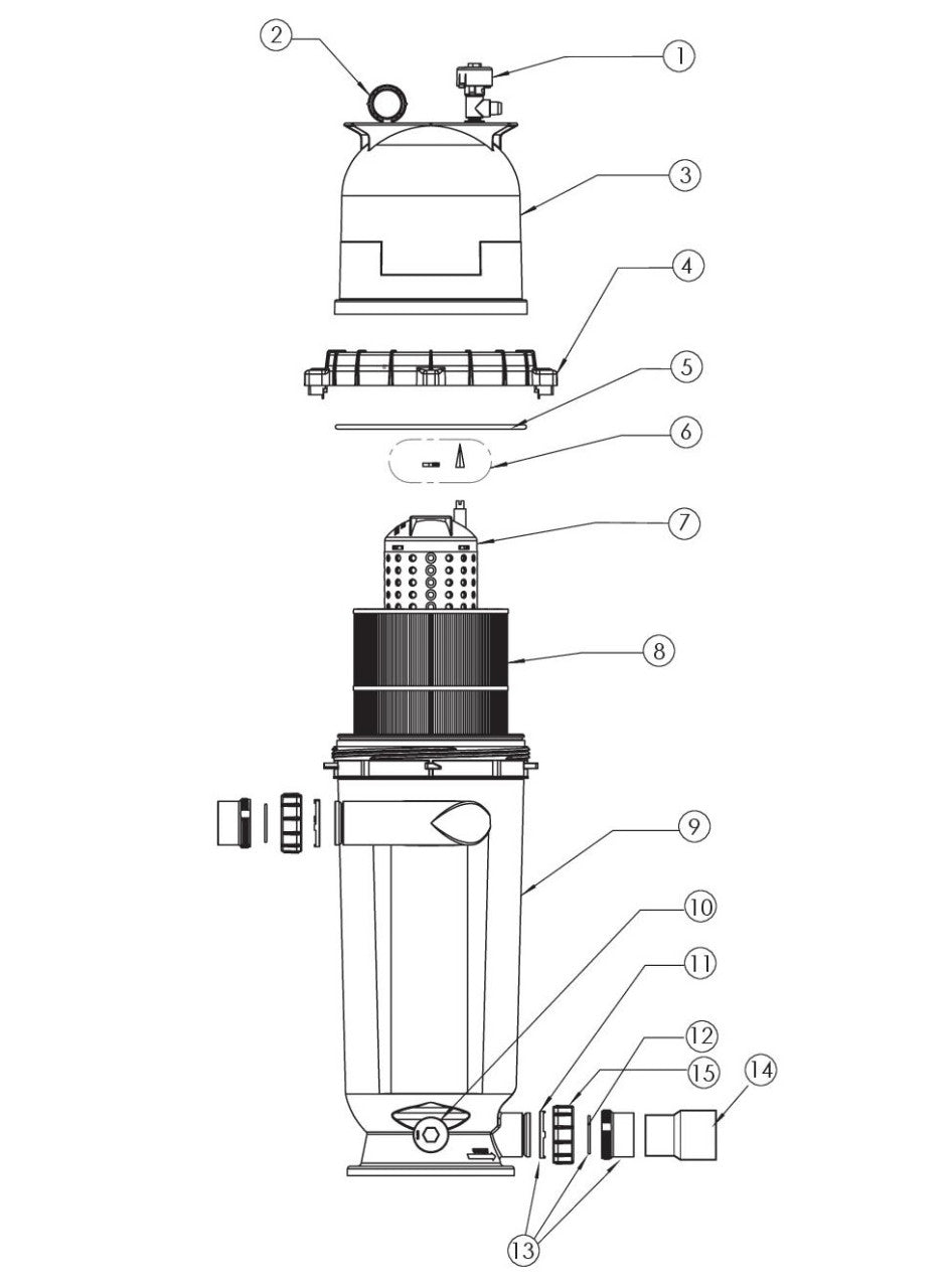
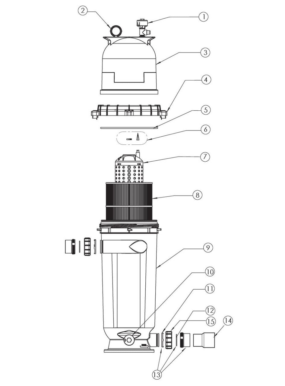
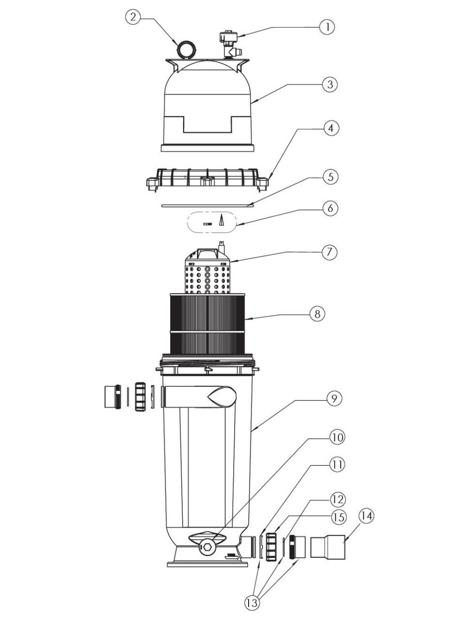
Ersatzteile für Sta-rite POSI-CLEAR RP
Danke fürs Abonnieren!
Diese E-Mail wurde registriert!
| Produkt | Artikelnummer | Beschreibung | Sammlung | Verfügbarkeit | Produkttyp | Weitere Details |
|---|